在风电装备不断向大型化演进的浪潮中,一片看似不起眼的叶尖小翼。这个安装在叶片最末端、仅占整体长度3%-5%的装置,通过精妙的空气动力学设计,能让风机年发电量提升3%-8%。

叶尖小翼的诞生,最早可追溯到航空领域的翼梢涡流研究。1944年德国He162战斗机首次采用翼梢小翼设计,通过改变气流方向降低诱导阻力,这一原理后来被巧妙应用到风电领域。当风机叶片高速旋转时,叶尖区域会因上下表面的气压差形成强烈涡流,这种无形的“能量漩涡”会带走约15%-25%的风能,相当于每年损失数十万元的发电收益。

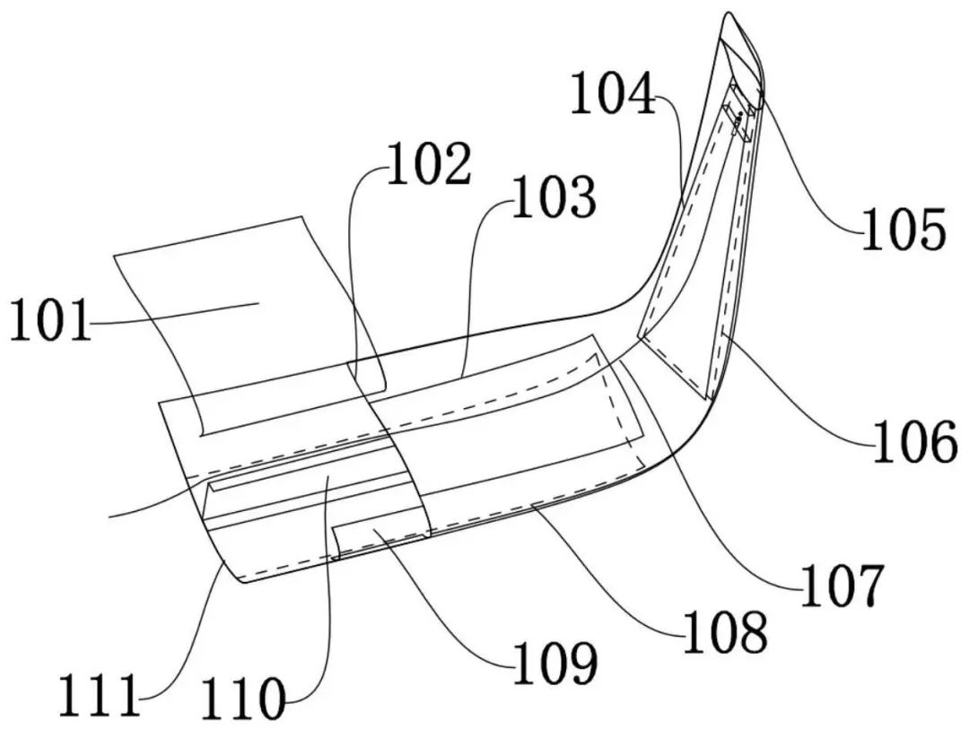
叶尖小翼的工作机制如同为叶片装上“导流器”:它通过特殊的曲面造型将集中的涡流切割成多个小涡,分散能量损耗;同时利用外倾15°-25°的安装角度,等效延长叶片的有效扫风半径,让风机捕捉更多风能。在材料选择上,现代叶尖小翼多采用碳纤维增强复合材料,其拉伸强度达2500MPa以上,能承受叶片旋转时产生的巨大离心力——以150米长的叶片为例,叶尖处的离心力相当于30辆轿车的重量总和。

在实际应用中,叶尖小翼的增效能力已得到充分验证。启迪安纳卡塔公司对旗下45台3MW机组进行叶尖小翼改造后,年发电量增加810万度,相当于减少标准煤消耗2700吨。更令人瞩目的是广西兴安高山风电项目,这里的风机不仅加装了前缘仿生小翼,还结合叶片延长技术,使扫风面积扩大12%,成功解决了低风速山区的发电难题。

不同场景下的小翼设计各具特色:海上风电的小翼需额外考虑盐雾腐蚀,采用三层防腐涂层;高海拔风场的小翼则要优化气动外形,应对空气稀薄导致的升力下降。金风科技在青海高原风场的实践显示,经过气动优化的小翼能使机组在风速6m/s时的发电效率提升5.2%,这在年平均风速仅7.5m/s的地区,意味着投资回收期可缩短1.8年。

不足的是,在风速低于6m/s的区域,其增效幅度往往不足1.5%,导致投资回收期超过8年,经济性大打折扣。更关键的是,叶尖处的离心力是叶片主体的1.8倍,若与原叶片的气动耦合度不足0.9,可能引发共振风险。

从航空翼梢到风电叶尖,这项跨越百年的技术创新仍在进化。下一代叶尖小翼可能集成微型射流装置,通过主动流动控制进一步削弱涡流;数字孪生技术的应用则能实现小翼从设计到退役的全生命周期监测。
2024-05-01