2024-05-01
2024-05-01
2024-04-30 受风光大基地市场推动,2024年风电大基地项目EPC招标密集发布。据北极星风力发电网对于大唐、华电、内蒙古能源等重点基地项目的统计,年初至今,风电EPC价格已经由前两年的3-4元/W左右,降低至当前的约1.35-3元/W(不含风机设备),以及2.2-4.1元/W(含风机设备)价格区间。
当然,南北方不同的地貌地形和项目体量的大小,对于风电EPC造价的影响较大。这也是我们在上半年典型项目中,既能看到6.2元/W的含风机设备EPC单价,也能看到2.2元/W的含风机设备EPC单价的原因所在。
但有一点是肯定的,对于三北风电与沙戈荒大型风光基地来说,风电造价2元/W时代已经来临,中国风电成本已经出现了再一次突破。
大基地含风机EPC均价约2663元/千瓦
在针对几个有代表性的三北大基地项目统计中,价格较低的是2024年3月31日进行公示的内蒙古能源总800万千瓦的风储项目EPC总承包项目,在这些项目中,最低价项目为内蒙古能源二连浩特口岸绿色供电50万千瓦风储项目EPC总承包,中标价格约合2151元/kW;即便是最高价的克什克腾旗100万千瓦风储项目EPC总承包,价格也刚刚达到2721元/kW。而且,这些项目的EPC价格均包含有风机设备采购。
以二连浩特口岸绿色供电50万千瓦风储项目EPC总承包为例,该项目招标内容含风电场、检修道路、35kV集电线路、少人值守220kV升压站、有人值守500kV/220kV升压站及进站道路、施工道路的所有勘察设计、设备材料采购、工程施工、安装调试、试验和验收、安全生产视频监控系统、智慧风场设计及建设、合规性手续办理,同时进行工程相关外部协调等工作。
尤其在设备、材料供货细则上,承包人承担整个项目所需的风机成套发电设备、箱变、塔筒、风机基础锚板锚栓(如有)、电缆、电缆终端(中间)接头、35kV集电线路、少人值守220kV升压站、有人值守220kV升压站、SVG、涉网设备等等的采购、运输等工作。

受模式、容量影响,含设备EPC也有高价
在含风机设备的EPC项目中有两个比较引人瞩目,分别是大唐华银怀化通道县、芷江县248.5MW风电项目新建工程EPC总承包项目和广东建工天津西青区750MW风力发电项目EPC总承包项目,上述两项目总包价格达到了6188元/kW和6525元/kW,是上半年的EPC项目中罕见的高价。
根据招标内容,大唐华银怀化通道县、芷江县248.5MW风电项目新建工程位于湖南省怀化市通道县,EPC属于交钥匙工程,包括通道县金坑风电场、芷江县大树坳风电场、芷江县碧涌风电场项目、通道南升压汇集站、以及三个风电场项目的送出工程,所有项目的合规性手续办理、征地拆迁、专项验收、勘察设计、设备及材料采购、施工、验收、质保等。
另一个广东建工天津西青区750MW项目EPC总承包中标价格为4893417024元,单价约为6252元/kW。不过,该项目同样为包含前期工作、勘察设计、项目征租地、设备物资采购、风场施工、后期并网等等的交钥匙工程。安装120台单机容量6.25MW风电机组,按照15%配比、2小时的储能容量要求采用租用共享储能电站形式。储能的加入,也相应的提高了项目的造价水平。
同样值得关注的是8月4日公示的广东省韶关市南雄百顺镇乡村振兴分散式风电试点项目EPC总承包。该15MW山地分散式项目投标报价为73833001.61元,折合EPC单价为4922元/kW,含风电机组的EPC价格更是达到了约8100元/kW。分散式风电一般体量较小,项目所在地为山地丘陵地貌,虽是小型风电项目,但相应的修路、运输成本一样都不少,地形加上容量规模等要素,也相应抬高了上述项目的总体工程成本。
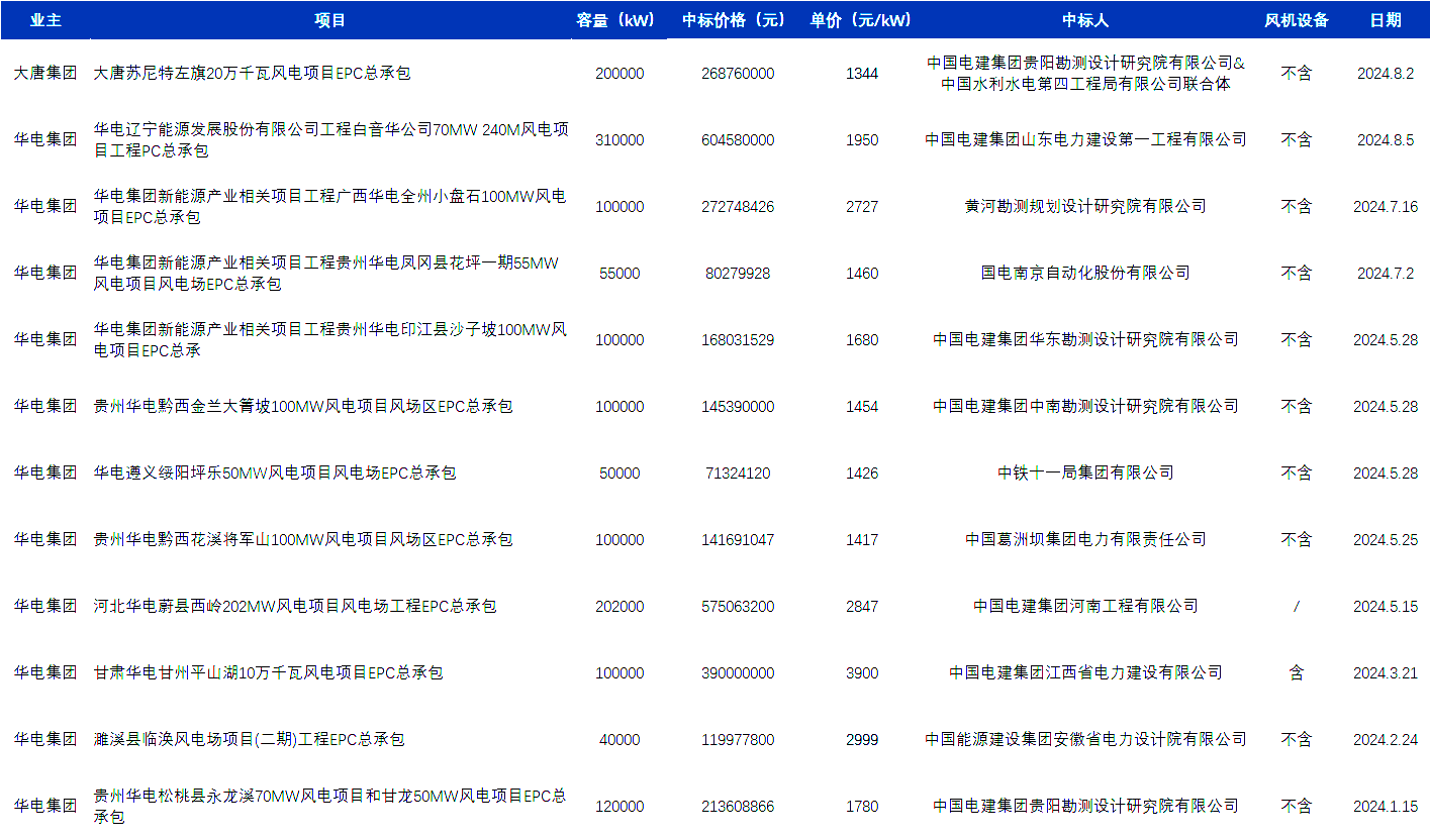
不含风机EPC均价约1693元/千瓦
在针对华电、大唐及其他几个2024年重点EPC风电项目中标统计中,不含风机设备的均价约为1693元/kW。
其中最低价出现在2024年8月2日公示的大唐苏尼特左旗20万千瓦风电项目EPC总承包项目中,该项目中标价格为268760000元,约合1344元/kW;最高价是濉溪县临涣风电场项目(二期)工程EPC总承包项目,该项目中标价格为119977800元,约合2999元/kW。

事实上,不止风电,同为可再生能源主力军的光伏在近两年也面临价格快速下降的趋势。今年7月,湘投240MW光伏EPC开标价格爆出1.72元/W新低,包含组件、逆变器和支架三大件,即便有传统基建巨头涌入新能源分羹的原因在里面,整个行业产能过剩、恶性竞争的现状也难辞其咎。
尤其以风电EPC新低二连浩特50万千瓦项目的2152元/kW价格去倒推的话,我们会发现,风机价格也就在700-800元/kW之间。刨去风电机组,工程加上线缆等设备,施工价格已经低至约1400元/kW。
当前,无论是风电机组还是光伏组件,亦或是风光EPC,都在卷生卷死的道路上一路下降。面临风、光20-25年使用寿命周期,质量无疑是最大衡量标准,也是企业最大的竞争力,更有理由得到全行业的重点关注和深度实践。

资讯来源:
免责声明: 本站内容转载自合作媒体、机构或其他网站的信息,转载此文仅出于传递更多信息的目的,但这并不意味着赞同其观点或证实其内容的真实性。本站所有信息仅供参考,不做交易和服务的根据。本站内容如有侵权或其它问题请及时告之,本网将及时修改或删除。凡以任何方式登录本网站或直接、间接使用本网站资料者,视为自愿接受本网站声明的约束。